Subasta de Solar en CHOZAS DE ABAJO

Visto 4 veces

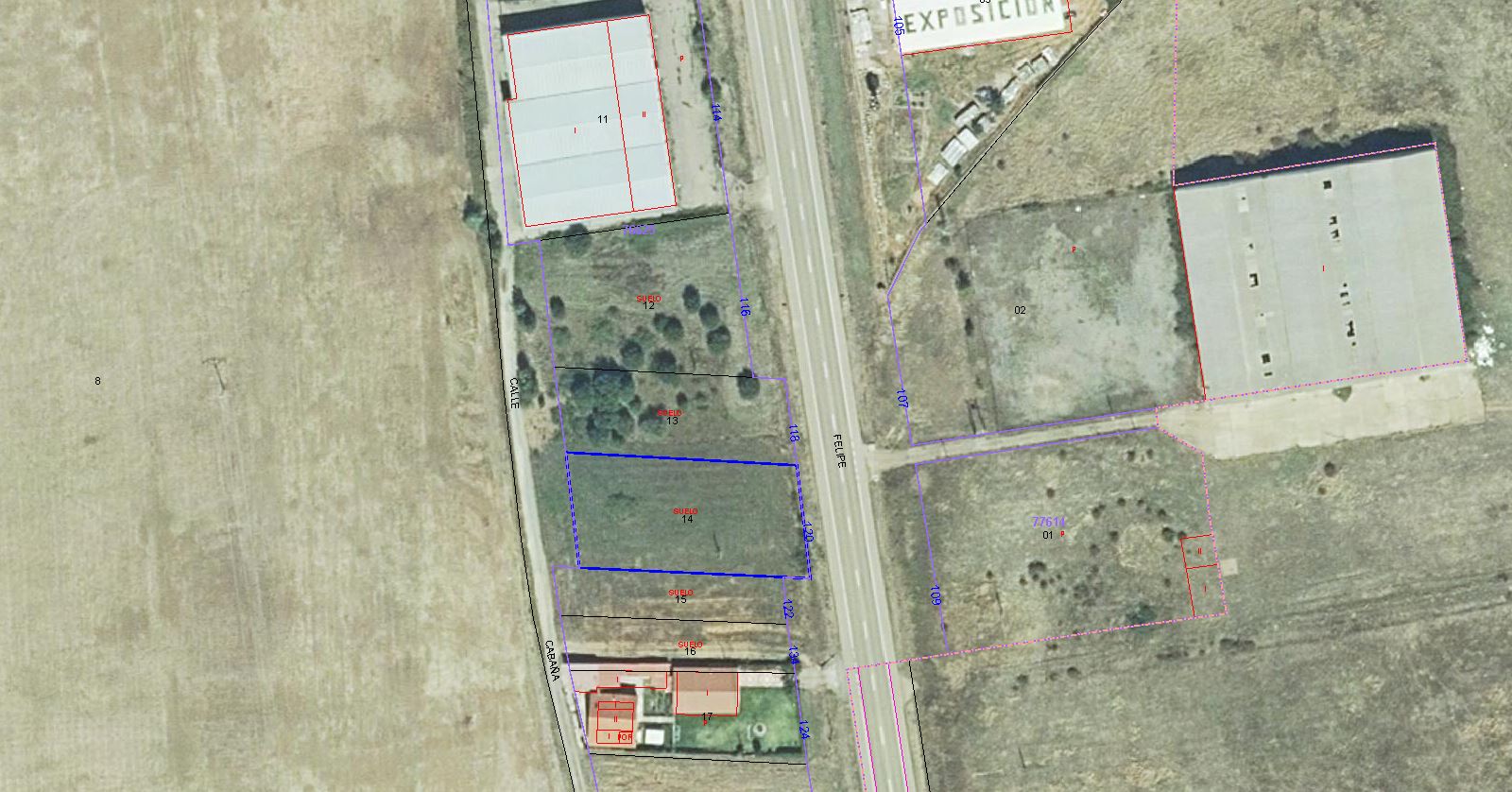
100% DEL PLENO DOMINIO. FINCA 10755 DE CHOZAS DE ABAJO, QUE SEGÚN DESCRIPCIÓN REGISTRAL ES URBANA, SOLAR SITO EN AVENIDA PRINCIPE FELIPE, 126 CEMBRANOS, DE SUPERFICIE TERRENO 1.424 M2 Y LINDEROS: FRENTE, AVENIDA PRINCIPE FELIPE DERECHA, CATASTRAL 13 PROPIEDAD DE ANTONIO FERNANDEZ PORRERO IZQUIERDA, CATASTRAL 15 PROPIEDAD DE JOGOSTO, S.L. FONDO, ZONA RUSTICA CAMINO. COORDINADA CON CATASTRO. REFERENCIA CATASTRAL:7662514TN8076S0001GH.

Información sobre cargas registrales preferentes. Importe actualizado. 0,00 euros. LIMITACION DEL 207 DE LA L.H. durante el plazo de dos años a contar desde el día dieciocho de diciembre de dos mil diecisiete. Sin vigor por el transcurso del plazo. Anotación preventiva de embargo letra A a favor de LA VENECIANA, S.A. Cancelada económicamente, según información del acreedor. Embargo a favor de TESORERIA GENERAL DE LA SEGURIDAD SOCIAL. Cancelada económicamente según información de la Seguridad Social

Solar en CHOZAS DE ABAJO

Este bien se encuentra en la siguiente dirección: AV PRINCIPE FELIPE 126, 24231, CHOZAS DE ABAJO, León

Está valorado en 56.348,00 € y no presenta cargas.

La puja más alta es de 3.000,00 €

Para acceder a la información oficial del BOE para esta subasta de Solar en CHOZAS DE ABAJO, haz click en el botón Ver Ficha:

Ver ficha

Quizá te interese

Subastas de inmuebles Últimas subastas del BOE

¿Tienes algún comentario? ¡Escríbenos!

Email